welcomeÅ·ÖÞ±­

ÓïÑÔ/language
  • Ó¢Óï English
  • ¶íÂÞ˹Óï Russian
  • Î÷°àÑÀÓï Spanish
  • X

    ÐèÇóÈ·ÈÏ

    ¹«Ë¾È«³Æ ÏêϸµØµã
    ÐÕÃûÖ°Îñ ÁªÏµ·½·¨
    Ö÷ÓªÓªÒµ Ïêϸ²úÆ·
    ÓªÒµÇøÓò Ö÷ÒªÎÊÌâ
    ËùÐè²úÆ·
    ÉÏÃÅ·þÎñ¡¢Ô¼ÇëÀ´·Ã
    ÑéÖ¤Â룺 ¿´²»Çå£¬µã»÷Ë¢ÐÂ

    ¼Æ»®È·ÈÏ

    ÊÖÒÕÖÊÁ¿¼Æ»®È·ÈÏ¡¢½»ÆÚ·þÎñ¼Æ»®È·ÈÏ¡¢½áËã¼ÛÇ®¼Æ»®È·ÈÏ

    ÏàÖúÈ·ÈÏ

    Ñù»úÏàÖú £¬Ñù»úÈ·ÈÏ £»

    СÅúÏàÖú £¬Ð¡ÅúÈ·ÈÏ £»

    ÅúÁ¿ÏàÖú £¬Ò»Á¬ÓÅ»¯¡£

    ×°Öõ÷ÊÔ

    1.1×°ÖÃÇ°×¢ÖØÊÂÏî

    ×é×°ºÍ×°ÖÃÊÂÇ鱨ÐèÒªÓɾ­ÓÉÅàѵ¡¢ËØÖʼ°¸ñµÄÖ°Ô±ÉóÉ÷µØ¾ÙÐÐ £»
    ÖÆÔì³§¼Ò¹ØÓÚ²»×¼È·µÄ×é×°ºÍ×°ÖÃËùÔì³ÉµÄÈκÎËðÉ˸Ų»ÈÏÕæ £»
    ÔÚ¾ÙÐÐÍýÏëµÄ½×¶Î¾ÍÓ¦¸Ã¸ø¼õËÙ»úÁô³ö×ã¹»µÄ¿Õ¼äÒÔ±¸ÒÔºó¾ÙÐÐά»¤±£ÑøºÍÐÞÀíÊÂÇé £»
    ÔÚ×îÏȾÙÐÐ×é×°ºÍ×°ÖÃÊÂÇé֮ǰһ¶¨Òª×¼±¸ºÃºÏÊÊµÄÆð֨װ±¸ £»
    ÈôÊǼõËÙÆ÷£¨µç»ú£©ÉÏÅ䱸Á˵çÉÈ £¬ÔòÓ¦¸ÃÓÐ×ã¹»µÄ¿Õ¼äÒÔ±ãÄܹ»ÎüÈë¿ÕÆø £»
    ´«¶¯×°ÖÃÃúÅÆÉϵÄ˵Ã÷ÓëÏÖ³¡µçÔ´Ïà·û £»
    ´«¶¯×°ÖÃÓ¦ÊÇÍêºÃÎÞËðµÄ£¨ÔÚÔËÊä»òÖü´æÀú³ÌÖÐδË𻵣© £»
    È·ÈÏÏÂÁÐÒªÇóÒѾ­Öª×㣺
    ¶Ô±ê×¼¼õËÙÆ÷£ºÇéÐÎζÈ0¡ãC¡«+40¡ãC
    ÎÞÓÍ¡¢Ëá¡¢Óк¦ÆøÌå¡¢ÕôÆû¡¢·ÅÉäÐÔÎïÌåµÈ £»
    ¶ÔÌØÊâÐÍʽ£º´«¶¯×°ÖÃÊÇÒÀ¾ÝÇéÐÎÌõ¼þÉèÖõÄ £»
    ¶ÔÎÏÂÖÎϸ˼õËÙÆ÷£º²»¿É¶Ô¾ßÓÐ×ÔËø¹¦Ð§µÄ¼õËÙÆ÷
    Ê©¼Ó¹ý´óµÄÄæÏòÍⲿ¹ßÐÔ¾Ø £¬ÒÔÃâË𻵼õËÙÆ÷ £»
    ΪÁ˰ü¹ÜÓÅÒìµÄÈó»¬ £¬Ò»¶¨Òª×ñÊØ¶©µ¥ÖÐËù»®¶¨µÄ×°ÖÃλÖà £»
    Îñ±Ø×¢ÖؼõËÙÆ÷£¨µç»ú£©µÄÖÒÑÔºÍÇå¾²ÌáÐÑÅÆ¡£

    1.2×°ÖÃǰ׼±¸ÊÂÇé

    ÓÿɹºÖõ½µÄÈܼÁ³¹µ×ɨ³ýÊä³öÖáºÍ·¨À¼ÍâòµÄ·À¸¯¼Á¡¢ÎÛÎï»òÀàËÆÎïµÈ £»
    ×¢ÖØ£º²»ÒªÊ¹ÈܼÁ½þÈëµÌÖÂÛâµÄÃÜ·â´½ÉÏ £¬²»È»ÈܼÁ¿ÉÄÜ»áËð»µÓÍ·â £»
    ÈôÊǼõËÙÆ÷Öü´æ1ÄêÒÔÉÏ £¬Öá³ÐÖÐÈ󻬼ÁµÄʹÓÃÊÙÃü½«Ëõ¶Ì £»
    ÈôÊǼÓ×¢µÄÊÇ¿óÎïÓÍ»òºÏ³ÉÓÍ£¨CLPHC£© £¬ÇÒ¼ÓÓÍÁ¿Óë×°ÖÃλÖõÄÒªÇóÏà·û £¬ÔÚÕâÖÖÇéÐÎϼõËÙÆ÷ËæÊ±¿ÉÒÔÔËÐС£¿ÉÊÇ £¬ÔÚÆð¶¯Ç°ÈÔȻҪ¼ì²éÓÍλ £»
    ÔÚijЩÇéÐÎϼÓ×¢µÄÊǺϳÉÓÍ£¨CLPPG£© £¬ÓÍλ½Ï¸ßһЩ £¬Æð¶¯Ç°Ó¦ÐÞÕýÓÍλ¡£

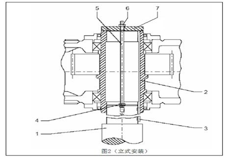
    1.3¼õËÙÆ÷µÄ×°ÖÃ

    ¼õËÙÆ÷£¨µç»ú£©Ö»Äܰ´»®¶¨µÄ×°ÖÃλÖÃ×°ÖÃÔÚÆ½µÄ¡¢¼õÕðµÄ¡¢¿¹Å¤µÄÖ§³Ö½á¹¹ÉÏ £»ÏäÌåµ×½ÅÓë×°Ö÷¨À¼ÔÚ×°ÖÃÀú³ÌÖв»¿Éͬʱš½ôÒÔÃâÏ໥½ÏÁ¿ £»
    µ±Ê¹ÓÃÂÝ˨»òµØ»ù¿é½«¼õËÙÆ÷£¨µç»ú£©Àο¿ÔÚÆä»ìÄýÍÁµÄ»ù´¡ÉÏʱ £¬Ó¦¸ÃÓкÏÊʵݼ²ÛÈÝÄɼõËÙÆ÷£¨µç»ú£© £»
    ÔÚ×°ÖÃʱÇë¼ì²é×¢ÓÍÁ¿Óë×°ÖÃλÖÃÊÇ·ñÏà·û £¬ÈôÊÇ×°ÖÃλÖñ¬·¢×ª±ä £¬ÇëÏìÓ¦µ÷½âÓÍÁ¿ £»
    ×°ÖÃÖ±Í¨Ê½Í¨ÆøÆ÷»ò·­¿ªÍ¨ÆøÆ÷ÔËÊäÏð½ºÈ¦ £»
    ²»Òª×²»÷ºÍÇû÷Öá¶Ë £»
    µç»úµÄ±ÊÖ±×°Ö÷½·¨ÒªÓÐÕڱβ½·¥À´±ÜÃâÒìÎï»òÕßÒºÌåÇÖÈ루·ÀÓêÕÖC£© £»
    ×°ÖýÓÏߺÐʱ £¬ÒªÈõçÀ½øÏß¿ÚÖ¸ÏòÏ·½¡£

    1.3.1ʵÐÄÖá¼õËÙÆ÷£¨µç»ú£©µÄ×°ÖÃ

    ÔÚ¼õËÙ»úµÄÖáÉÏ×°Öò¢Àο¿ÊäÈëºÍÊä³öÇý¶¯Áã¼þ£¨ÀýÈçÁªÖáÆ÷µÄÁ㲿¼þµÈ£© £»
    ÈôÊÇÕâЩÁ㲿¼þÔÚ×°ÖÃ֮ǰÐèÔ¤ÏȼÓÈÈ £¬ÔòÓйØ×¼È·µÄÅäºÏζÈ £¬¿É°Ý¼ûÁªÖáÆ÷ÎļþÖеijߴçͼ £»
    ÖáÆ÷µÄ²î³ØÖÐÐÔÓпÉÄÜÊÇ×é×°Ôì³ÉµÄ £¬Ò²¿ÉÄÜÊÇÏÖʵ²Ù×÷Ôì³ÉµÄ£¨ÀýÈçÈÈÅòÕÍ¡¢ÖáµÄÄÓ¶È¡¢»ú¼ÜµÄ¸Õ¶Èȱ·¦µÈµÈ£© £»
    ÁªÖáÆ÷ÔÊÐíµÄ¶ÔÖÐÎó²îÇë°Ý¼ûÏìÓ¦Æ·ÅÆÁªÖáÆ÷µÄ˵Ã÷Êé £»

    ÔÊÐíµÄ²î³ØÖÐÎó²î

    ¶ÔÖÐÓ¦¸ÃÔÚÏ໥±ÊÖ±µÄÁ½¸öÖáÏòÆ½ÃæÖоÙÐС£¿ÉÒÔʹÓÃÖ±³ß£¨¾¶Ïò²î³ØÖУ©ºÍÈû³ß£¨½Ç¶È²î³ØÖУ©¾ÙÐжÔÖÐ £»
    ³ý·ÇÉÐÓл®¶¨ £¬²»È»ÕâЩÁ㲿¼þ¾Í¿ÉÒÔÓøÐÓ¦¼ÓÈȵÄÒªÁìÔ¤ÈÈ £¬Ò²¿ÉÒÔÓÃÉÕ×ì»òÕßÔÚ¼ÓÈȯÄÚÔ¤ÈÈ¡£

    1.3.2´øÆ½¼ü¿ÕÐÄÖá¼õËÙÆ÷£¨µç»ú£©µÄ×°ÖÃ

    ÊÂÇé»úʵÐÄÖáÖá¶ËÓ¦¸ÃÅ䱸ÇкÏDIN6885±ê×¼µÚÒ»²¿·ÖAÐÍÆ½¼ü £¬²¢Ó¦¸ÃÔÚÆä¶ËÃæÉÏÓÐÇкÏDIN±ê×¼322 DSÐÍ£¨ÓÐÂÝÎÆ£©µÄÖÐÐÄ¿× £»
    ¼ì²é¼õËÙ»ú¿ÕÐÄÖáºÍÊÂÇé»úʵÐÄÖáÊÇ·ñÓÐÖá×ùºÍ±ßÑØ²¿·ÖµÄË𻵠£»ÈôÊÇÓÐÐëÒªµÄ»° £¬ÒªÓúÏÊʵŤ¾ß¾ÙÐÐÐÞÀí²¢ÕûÀíÇå½à £»
    ÓÃÂÝĸºÍÂݸË×°ÖüõËÙ»ú £¬Æä·´×÷ÓÃÁ¦ÊÇ¿¿¼õËÙ»ú¿ÕÐÄÖáÌṩµÄ £»

    1 ÊÂÇé»úʵÐÄÖá 2 ¼õËÙ»ú¿ÕÐÄÖá 3 ƽ¼ü 4 ÂÝĸ 5 ÂÝ¸Ë 6 ÂÝĸ 7 ¶Ë°å
    1 ÊÂÇé»úʵÐÄÖá 2 ¼õËÙ»ú¿ÕÐÄÖá 3 ƽ¼ü 4 ÂÝĸ 5 ÂÝ¸Ë 6 ÂÝĸ 7 ¶Ë°å

    ³ýÁËÔÚͼ1ºÍͼ2ÖÐËùʾµÄÂÝĸºÍÂݸËÒÔÍâ £¬»¹¿ÉÒÔʹÓÃÆäËüÀàÐ͵Ä×°ÖÃÀýÈç¿ÉÒÔʹÓÃÒ»Ì×ҺѹÌáÉý×°Öá£

    1.3.3´øÕͽôÅÌ¿ÕÐÄÖá¼õËÙÆ÷µÄ×°ÖÃ

    ÊÂÇé»úʵÐÄÖá¶ËÃæÉÏÓ¦¸ÃÅ䱸ÇкÏDIN±ê×¼322 DSÐÍ£¨ÓÐÂÝÎÆ£©µÄÖÐÐÄ¿× £»
    ÓÃÕûÌåʽµÄ³ÄÌ×¾ÙÐÐ×°Öà £»
    ÓÃÂÝĸºÍÂݸË×°ÖüõËÙ»ú £»·´×÷ÓÃÁ¦ÊÇ¿¿¼õËÙ»ú¿ÕÐÄÖáÌṩµÄ £»
    ÓÿíËɵijÄÌ×¾ÙÐÐ×°Öà £»
    ½«¿íËɵijÄÌ×ÍÆµ½ÊÂÇé»úʵÐÄÖáÉÏ £¬ÒªÓÃÒ»¸ö¶¨Î»×°Öý«ÆäÀο¿µØÀο¿ÔÚλ £¬È»ºóÑØ×ÅÊÂÇé»úʵÐÄÖὫÆäÀ­Èë¼õËÙ»úµÄ¿ÕÐÄÖᣨ²Î¿¼Í¼1¡¢Í¼2£© £»
    ¼õËÙ»ú¿ÕÐÄÖáµÄÍâÍâò¿ÉÒÔÔÚËõ¶ÌÅÌ×ùµÄλÖÃÉÏÌí¼ÓÈó»¬Ö¬ £»
    ƾ֤˳ÐòÖð¸öÅ¡½ôËùÓеĽô¹ÌÂÝ˨ £¬Òª¾­Óɼ¸¸öÑ­»·½«ËùÓеÄÂÝ˨š½ô £»
    Å¡ÀÎÀο¿ÂÝ˨ֱÖÁÄÚ»·ºÍÍâ»·µÄǰ²àÃæÁÙÆëΪֹ¡£

    ʹÓÃά»¤

    1.1 Ìí¼ÓÈó»¬ÓÍ

    šϼÓÓÍË¿¶Â £¬Ìí¼Ó׼ȷÖÖÀàµÄÈó»¬ÓÍÖÁÓͳ߻òÓ;µÖÐÏßÂÔ¿¿ÉÏλÖà £¬ÔÙ½«Ë¿¶Â×°Öúà £»
    ÒѼÓÓͼõËÙÆ÷£¨µç»ú£©ÎÞÐè¼ÓÓÍ¡£

    1.2 Æð¶¯

    ÔÚÆð¶¯Ç°Ò»¶¨Òª¾ÙÐÐÒÔϸ÷ÏîÄ¿µÄ¼ì²é²¢×öºÃ¼Í¼£º
    £¨1£©ÓÍÃæ¸ß¶È
    £¨2£©Èó»¬ÓÍÀäÈ´»òÕß¹©ÓÍϵͳ¹ÜµÀµÄÃÜ·âÐÔ
    £¨3£©Öá·âµÄÓÐÓÃÐÔ
    £¨4£©ÐýתÁ㲿¼þ²¢²»ÓëÆäËü¼þ½Ó´¥

    1.3ÔËÐÐ

    ÔÚ¼õËÙÆ÷£¨µç»ú£©Ê×´ÎÆô¶¯Ê± £¬ÈôÓпÉÄÜ £¬Ó¦ÈÃÆä¿ÕÔØÔËתÊýСʱ £¬ÎÞÈôÒì³£ £¬¿ÉÖð½¥¼ÓÔØ £¬ÔÚÊʵ±µÄʱ¼ä°ÑÔØºÉ¼ÓÂú £»
    ÔÚ²Ù×÷ÖÐ £¬¼õËÙ»úÒ»¶¨Òª¼à²â£º
    ÓÍΣ¨ÔÚÒ»Á¬²Ù×÷Àú³ÌÖÐ £¬¼õËÙ»úµÄÉè¼ÆÎ¶ÈÊÇ£ºÒ»Á¬ÔËתʱʹÓÿóÎïÓ͵ÄζÈΪ90¡æ¡£ÔÚ¸ü¸ßµÄζÈÏ £¬Ò»¶¨ÒªÓúϳÉÓÍ¡£¶Ìʱ¼äÊÂÇéµÄ×î¸ßζȿɴï100¡æ£© £»
    ÔËÐÐÔëÉùµÄת±ä £»
    ÔÚÏäÌåºÍÖá·â´¦¿ÉÄܵÄ©ÓÍ £»
    ׼ȷµÄÓÍÃæ¸ß¶È  £»

    1.4ά»¤

    ÔÚ°ü±£ÆÚÄÚËù±¬·¢µÄ¡¢ÐèÒª¾ÙÐÐÐÞÀíµÄ¹ÊÕÏÒ»¶¨ÒªÓɿͻ§·þÎñ²¿¾ÙÐС£¹ØÓÚÔÚ°ü±£ÆÚÖ®ºó±¬·¢µÄ¡¢²»¿ÉÅжÏÔµ¹ÊÔ­ÓɵĹÊÕÏ £¬ÎÒÃǽ¨Òé¿Í»§ºÍÎÒÃǵĿͻ§·þÎñ²¿¾ÙÐÐÁªÏµ £»

    ¼ì²éºÍά»¤ÖÜÆÚ£º

    ²½·¥ ÏÞÆÚ
    ¼ì²éÓÍΠÖðÈÕ
    ¼ì²é¼õËÙ»úµÄ²»Õý³£ÔëÉù ÿÔÂ
    ¼ì²é¼õËÙ»úÊÇ·ñ©ÓÍ Ã¿ÔÂ
    ¼ì²éÓÍÃæ¸ß¶È ÿ´ÎÆð¶¯¼õËÙ»ú֮ǰ
    Ä¥Á·ÓÍÖеÄË®·Ö ÔÚ400ÊÂÇéСʱºó £¬ÖÁÉÙÿÄêÒ»´Î
    Ê״λ»ÓÍ ÔÚÆð¶¯ºóÊÂÇé400Сʱ
    ØÊºóµÄ»»ÓÍ Ã¿18¸öÔ»òÕß5000ÊÂÇéСʱ
    ÕûÀíÂËÓÍÆ÷ ÿ3¸öÔÂ
    ÕûÀíÍ¨ÆøÂÝ·§ ÿ3¸öÔÂ
    ÕûÀíµçÉÈ¡¢µçÉȸǺͼõËÙÏäÌå Æ¾Ö¤ÒªÇó»òÕߺͻ»ÓÍͬʱ¾ÙÐÐ
    ¼ì²éÀäÈ´Å̹ܵĽṸ ԼĪÿ2Äê»òÕߺͻ»ÓÍͬʱ¾ÙÐÐ
    ¼ì²éÈó»¬ÓÍË®ÀäÈ´Æ÷ ºÍ»»ÓÍͬʱ¾ÙÐÐ
    ¼ì²é½ô¹ÌÂÝ˨µÄ½ô¹Ìˮƽ µÚÒ»´Î»»Óͺó £¬ØÊºóÿ¸ôÒ»´Î»»ÓÍ
    ¹ØÓÚ¼õËÙ»úµÄÖÜÈ«¼ì²é ԼĪÿ2ÄêºÍ»»ÓÍͬʱ¾ÙÐÐ

    ¿ÉÄܱ¬·¢µÄ¹ÊÕÏ£º

    ¹ÊÕÏ Ôµ¹ÊÔ­ÓÉ ²½·¥
    ÔÚ¼õËÙÆ÷µÄ½ô¹Ì¼þ´¦ÓдóµÄÔëÉù ½ô¹Ì¼þËɶ¯ÁË ½«ÂÝ˨/ÂÝĸš½ôµ½»®¶¨µÄŤ¾Ø £¬Ìæ»»Ëð»µÁ˵ÄÂÝ˨/ÂÝĸ
    ¼õËÙÆ÷µÄÔëÉùת±ä ³ÝÂÖµÄÂֳݱ¬·¢ÁËË𻵠Óë¿Í»§·þÎñ²¿ÁªÏµ¡¤¼ì²éËùÓеijÝÂÖ £¬Ìæ»»Ëðº¦Á˵ÄÁã¼þ
    Öá³Ð¼ä϶¹ý´ó Óë¿Í»§·þÎñ²¿ÁªÏµ¡¤µ÷½âÖá³ÐµÄ¼ä϶
    Öá³ÐË𻵠Óë¿Í»§·þÎñ²¿ÁªÏµ¡¤Ìæ»»Ë𻵵ÄÖá³Ð
    ÊÂÇéζȹý¸ß ÏäÌåÄÚÀïµÄÓÍÃæ¹ý¸ß ¼ì²éÓÍÃæµÄ¸ß¶È £¬ÐëÒªµÄ»° £¬¾ÙÐе÷½â
    Ó͹ýÓڳ¸¯ Óë¿Í»§·þÎñ²¿ÁªÏµ,¼ì²éÉÏÒ»´Î»»Ó͵Äʱ¼ä £¬ÈôÊÇÓÐÐëÒªµÄ»°¾ÍÌæ»»
    ÓÍÊܵ½ÑÏÖØÎÛȾ Óë¿Í»§·þÎñ²¿ÁªÏµ¡¤»»ÓÍ
    ÔÚÅ䱸ÁËÈó»¬ÓÍÀäȴϵͳµÄ¼õËÙ»úÉÏ£ºÀäÈ´¼ÁµÄÁ÷Á¿¹ýµÍ»òÕß¹ý¸ß ÖÜÈ«µ÷ÀíÈë¿ÚºÍ³ö¿Ú¹ÜµÀµÄ·§ÃÅ,¼ì²éË®Àä×°ÖõÄ×ÔÓÉÁ÷Á¿
    ÀäÈ´¼Áζȹý¸ß ¼ì²éζȲ¢°´Ðèµ÷Àí
    ͨ¹ýË®Àä×°ÖõÄÓÍÁ÷¹ýµÍ £¬ÆäÔµ¹ÊÔ­ÓÉÊÇ£ºÂËÓÍÆ÷ÑÏÖØ¹£Èû ÕûÀíÂËÓÍÆ÷
    ÓͱõĻúе¹ÊÕÏ Óë¿Í»§·þÎñ²¿ÁªÏµ¡¤¼ì²éÓͱõĹ¦Ð§ÊÇ·ñÕý³£¡¤ÐÞÀí»òÕß»»ÓͱÃ
    ÔÚÅ䱸Á˵çÉȵļõËÙ»úÉÏ£ºµçÉÈ¸ÇµÄ¿ÕÆøÈë¿ÚºÍ/»òÏäÌåÑÏÖØÎÛȾ ÕûÀíµçÉȸǺÍÏäÌå
    Å䱸ÁËÀäÈ´ÂÝÐý¹ÜµÄ¼õËÙ»ú£ºÀäÈ´ÂÝÐý¹ÜÄÚÀï½á¹¸ Óë¿Í»§·þÎñ²¿ÁªÏµ¡¤ÕûÀí»òÕßÌæ»»ÂÝÐý¹Ü
    Öá³Ð´¦µÄζȹý¸ß ¼õËÙ»úÏäÌåÄÚÀïµÄÓÍÃæ¹ý¸ß»òÕß¹ýµÍ ÔÚÊÒÎÂϼì²éÓÍÃæµÄ¸ß¶È²¢°´Ðè¼ÓÓÍ
    Ó͹ýÓڳ¸¯ Óë¿Í»§·þÎñ²¿ÁªÏµ¡¤¼ì²éÉϴλ»Ó͵Äʱ¼ä
    ÓͱõĻúе¹ÊÕÏ Óë¿Í»§·þÎñ²¿ÁªÏµ¡¤¼ì²éÓͱõÄÊÂÇéÊÇ·ñÕý³£,ÐÞÀí»òÕß»»ÐÂÓͱÃ
    Öá³ÐË𻵠Óë¿Í»§·þÎñ²¿ÁªÏµ¡¤²éÔIJÙ×÷Ö°Ô±ÔÚÕñ¶¯ÕÉÁ¿ÖÐËù»ñÐеÄÊý¾Ý¡¤¼ì²é²¢°´ÐèÌæ»»Öá³Ð
    Öá³Ð´¦µÄÕñ·ùÉý¸ß Öá³ÐË𻵠Óë¿Í»§·þÎñ²¿ÁªÏµ¡¤¼ì²é²¢°´ÐèÓÃÌæ»»Öá³Ð
    ³ÝÂÖË𻵠Óë¿Í»§·þÎñ²¿ÁªÏµ¡¤¼ì²é²¢°´ÐèÌæ»»³ÝÂÖ
    Ö¹»Ø×°ÖõÄζȹý¸ß,Ö¹»Ø¹¦Ð§Ê§Ð§ Ö¹»Ø×°ÖÃË𻵠Óë¿Í»§·þÎñ²¿ÁªÏµ¡¤¼ì²é²¢°´ÐèÌæ»»Ö¹¼Ó×°ÖÃ
    ¼õËÙÆ÷©ÓÍ ÏäÌå¸Ç»òÕßÅþÁ¬´¦µÄÃÜ·â²»Á¼ ¼ì²éÃÜ·âºÍÅþÁ¬´¦ £¬ÈôÊÇÐëÒªµÄ»° £¬Ì滻еĽ«ÅþÁ¬´¦ÃÜ·âºÃ
    ¾¶ÏòÖá·âʧЧ Óë¿Í·¿·þÎñ²¿ÁªÏµ¡¤»»Ðµľ¶ÏòÃÜ·â»·
    ÓÍÖÐÓÐË® ÓÍÖÐÓÐÔÓÎï ÓÃÊԹܼì²éÓ͵Ä״̬ÊÇ·ñÓÐË®·Ö±£´æÊµÑéÊÒÆÊÎöÓÍ¡£
    Èó»¬ÓÍÀäÈ´Æ÷»òÕßÀäÈ´ÂÝÐý¹ÜʧЧ Óë¿Í»§·þÎñ²¿ÁªÏµ¡¤ÕÒ³ö²¢ÐÞÀí×ß©֮´¦¡¤Ìæ»»ÀäÈ´Æ÷»òÕßÂÝÐý¹Ü
    ¼õËÙ»úÊܵ½»úе¼äµÄ͸·ç¹ýÀ´µÄÁ¹¿ÕÆø¶ø±¬·¢Äý¶ ÓúÏÊʵı£ÎÂÖÊÁϽ«¼õËÙ»ú± £»¤ÆðÀ´,¹Ø±Õ¿ÕÆøµÄ³ö¿Ú»òÕßÔڽṹÉϸıäÆäÆ«Ïò
    ѹÁ¦¼à²â×°Öñ¨¾¯£¨Å䱸ÁËѹÁ¦È󻬡¢Èó»¬ÓÍË®ÀäÈ´×°ÖÃºÍ¿ÕÆøÀäÈ´×°ÖõļõËÙ»ú£© ÓÍѹ£¼0.5bars ÔÚÊÒÎÂϼì²éÓÍÃæ¸ß¶È £¬°´Ðè¼ÓÓͼì²éÂËÓÍÆ÷ £¬°´ÐèÌæ»»,Óë¿Í»§·þÎñ²¿ÁªÏµ¡¤¼ì²éÓͱõĹ¦Ð§ÊÇ·ñÕý³£´¦¡¤ÐÞÀí»òÕßÌæ»»ÓͱÃ
    Ë«Çл»Ê½ÂËÆ÷µÄָʾÆ÷·¢³ö±¨¾¯ Ë«Çл»Ê½ÂËÆ÷¹£Èû ƾÌý˵Ã÷½«Çл»ÂËÆ÷¾ÙÐÐÇл» £¬½«¹£ÈûÁ˵ÄÂËоȡÏÂÀ´²¢ÕûÀí
    ¹©ÓÍϵͳµÄ¹ÊÕÏ ¿´²Ù×÷˵Ã÷ÊéÖйØÓÚ¹©ÓÍϵͳµÄ˵Ã÷
    µç»ú²»Æð¶¯ µçÔ´ÏßÖÐÖ¹ ¼ì²é½ÓÏß £¬ÐèҪʱ¾ÀÕý
    ÈÛ¶ÏÆ÷ÈÛ¶Ï Ìæ»»ÈÛ¶ÏÆ÷
    µç»ú± £»¤×°ÖÃÒÑÐж¯ ¼ì²éµç»ú± £»¤×°ÖõÄÉèÖÃÊÇ·ñ׼ȷ £¬ÐèҪʱÇãÔþ¹ÊÕÏ
    µç»ú½Ó´¥Æ÷²»¿É¶¯ £¬¿ØÖÆÏµÍ³ÖеĹÊÕÏ ¼ì²éµç»ú½Ó´¥Æ÷µÄ¿ØÖÆ £¬ÐèҪʱɨ³ý¹ÊÕÏ
    µç»ú²»Æð¶¯»òÆð¶¯ÄÑÌâ µç»úӦΪÈý½ÇÐνÓÏß·¨ £¬µ«È´ÊÇÐÇÐÎÅþÁ¬ ¾ÀÕý½ÓÏß·½·¨
    µçѹ»òÕ߯µÂÊÖÁÉÙÔÚÆð¶¯Ê±ÑÏÖØÆ«Àë¶î¶¨Öµ Ïë·¨¸ÄÉÆ¹©µçÇéÐÎ £»¼ì²éµçÔ´ÏߵĽØÃæ
    ÐýתƫÏò¹ýʧ µç»ú½ÓÏß¹ýʧ ½»Á÷Á½¸öÏàÏß
    µç»ú¡¡×÷ÏìÇÒµçÁ÷ÏûºÄ½Ï´ó ÈÆ×éË𻵠µç»ú±ØÐèËÍרҵÐÞÀí³§ÐÞÀí
    ת×Ó´¥ÅöÈÆ×é
    ÈÛ¶ÏÆ÷ÈÛ¶Ï»òÕßµç»ú± £»¤×°ÖÃÁ¬Ã¦Ðж¯ µ¼Ïß¶Ì· ɨ³ý¶Ì·
    µç»úÖÐÓжÌ· ËÍרҵÐÞÀí³§ÇãÔþ¹ÊÕÏ
    µ¼ÏßÅþÁ¬¹ýʧ ¾ÀÕýÅþÁ¬·½·¨
    µç»ú½ÓµØ¶Ì· ËÍרҵÐÞÀí³§ÇãÔþ¹ÊÕÏ
    ?
    ÍøÕ¾µØÍ¼